US Army Invents 40mm Grenade That Nets Bad Drones

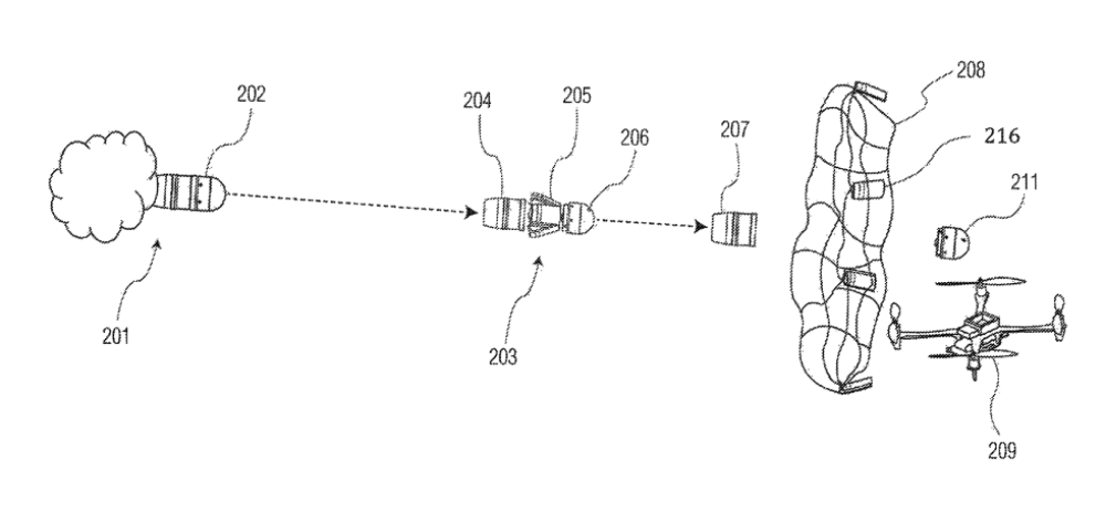
US Army researchers have packed a net into a 40mm grenade so they can take down enemy drones. The new invention, which was patented on Tuesday, brings high-tech engineering to the tried-and-true grenade launchers common among U.S. military and law enforcement units.
Rather than launching a net outright, the grenade is activated by a proximity sensor within feet of a moving target, ejecting a spinning net with significantly improved accuracy and duration compared to, say, a pair of hand-thrown bolas.
“As the round nears the target, a signal from a control board activates a servo. The servo pulls on a central lock plunger to release a ball mechanism. This releases the ogive section, which in turn allows the ejection spring means to eject the petals and weights along with the net stowed there within,” according to the patent.
More importantly, the 40mm net grenade is perfectly compatible with the M302 single-shot underslung grenade launcher that's a frequent addition to the standard issue M4 carbine an M16 assault rifle, as well as the Mk 19 belt-fed grenade launcher.
The new warhead was invented by Tomasz Blyskal, Richard Fong, and LaMar Thompson of the Armament Research, Development, and Engineering Center at the Picatinny Arsenal in New Jersey.

Initial testing showed that their round outperforms other net-centric counter-drone tactics like dragging a net from another larger drone, according to the Army, because that requires trained pilots and doesn’t work when trying to “ensnare many, or swarms of drones.”
Anyone who knows 'The Fifth Element' will recognise the technology:

Sources: Task & Purpose; TechLink