Honda Files Patent for Drone-Equipped Motorcycle

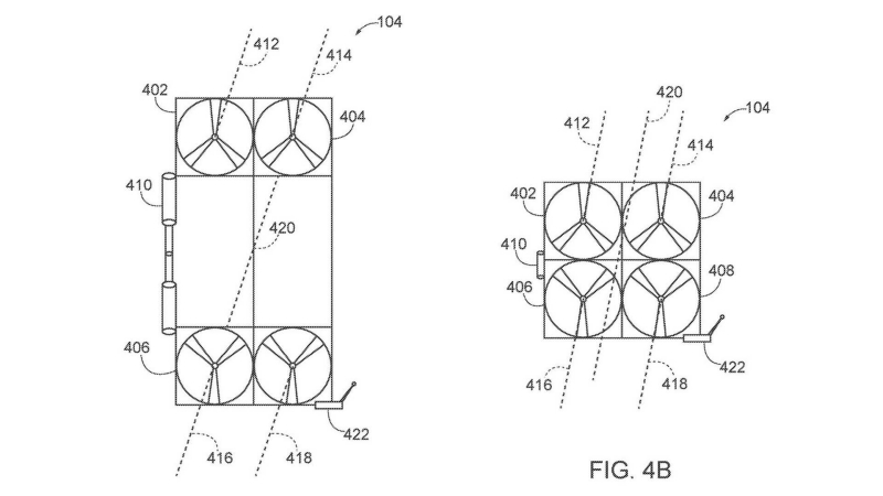
Honda Motorcycles has just filed a patent application for a motorcycle-mounted drone with four rotors that sits in a housing in the extended tail of a motorcycle. It is intended to be completely autonomous so that it can be released on command and return automatically to the bike when needing a recharge.
The system features a launching pad on the back of the bike and a system with 'a plurality of blades and an expansion device'. In other words, the drone increases in size when launched, meaning that the small size available for storage can be transformed into a bigger, more stable drone during flight.

It is envisaged that the drone would be used for monitoring the physical environment while in flight and in the onboard, reatyracted mode, it could perform a cooling function for the vehicle.

The 15-page patent filing can be accessed here.
Source: Free Patents Online